Stojan na dáždnik Oldus
Napíšte nám a spravíme Vám ponuku na lepšiu cenu.
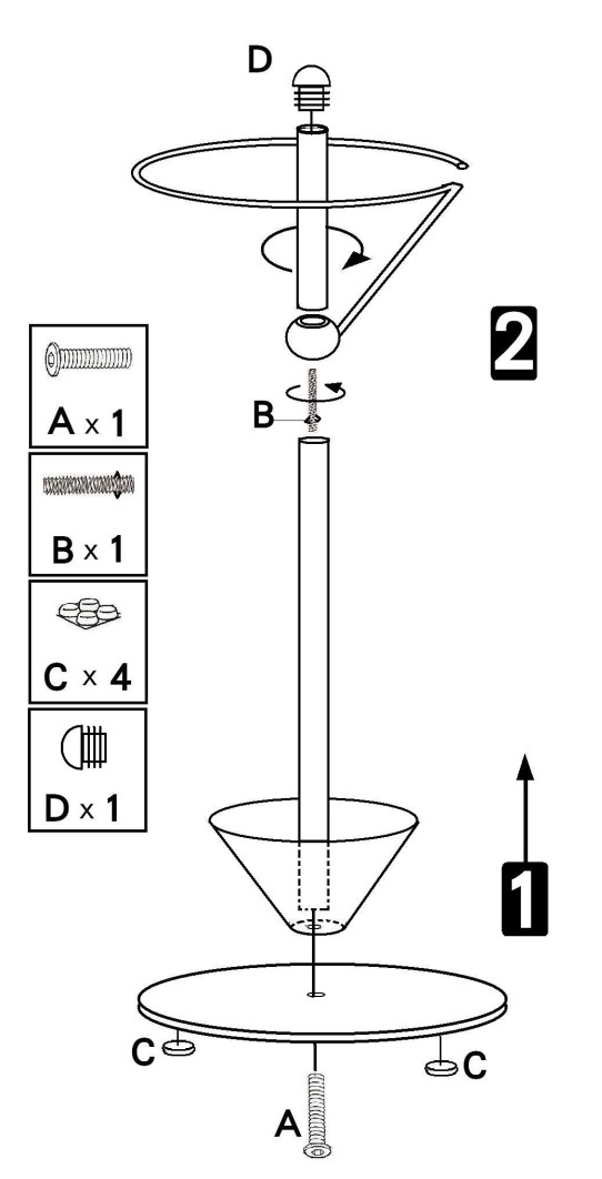
Stojan na dáždnik Oldus výška 60 cm hĺbka 26 cm je praktickým doplnkom pre každú domácnosť, kanceláriu alebo hotelovú halu. Tento stojan na dáždniky má kovovú konštrukciu v chrómovom prevedení, ktorá je doplnená o čierny podstavec. V spodnej časti stojana sa nachádza praktická miska, ktorá slúži na odtekanie vody z mokrých dáždnikov. Stojan je vyrobený z kovu, skla a chrómu. Stojan na dáždniky Oldus má rozmery 26 x 26 x 60 cm. Dodáva sa v demonte, ale jeho zostavenie nie je náročné. Tento stojan je skvelým spôsobom, ako udržať vašu domácnosť čistú a upratanú, aj keď idete von do dažďa.
752035
Šírka: 26 cm
Výška: 60 cm
Hĺbka: 26 cm
2.5 kg
Materiál: kov/sklo/chróm
Prevedenie: čierna/chrómovaná
Rozmery: ŠxHxV: 26x26x60 cm
Dodávané v demonte
24 mesiacov
Na stiahnutie (download)
Po-Štv: 8:00 - 20:00
Pia: 8:00 - 18:00
